You are here:
Home
Misc
Pavel Dudek designs
Pavel Dudek designs - SOFTSTART - The Czech way
Details
Written by:
Per-Anders Sjöström
Category:
Misc
Published: 27 April 2026
Hits: 6
Article Index
Pavel Dudek designs
DPA-380 - The MOSFET Power Amplifier
DPA-386 - The MOSFET Power Amplifier
ACTIDAMP - The Czech Phono Amplifier
SOFTSTART - The Czech way
Pavel Dudek
All Pages
Page 5 of 6
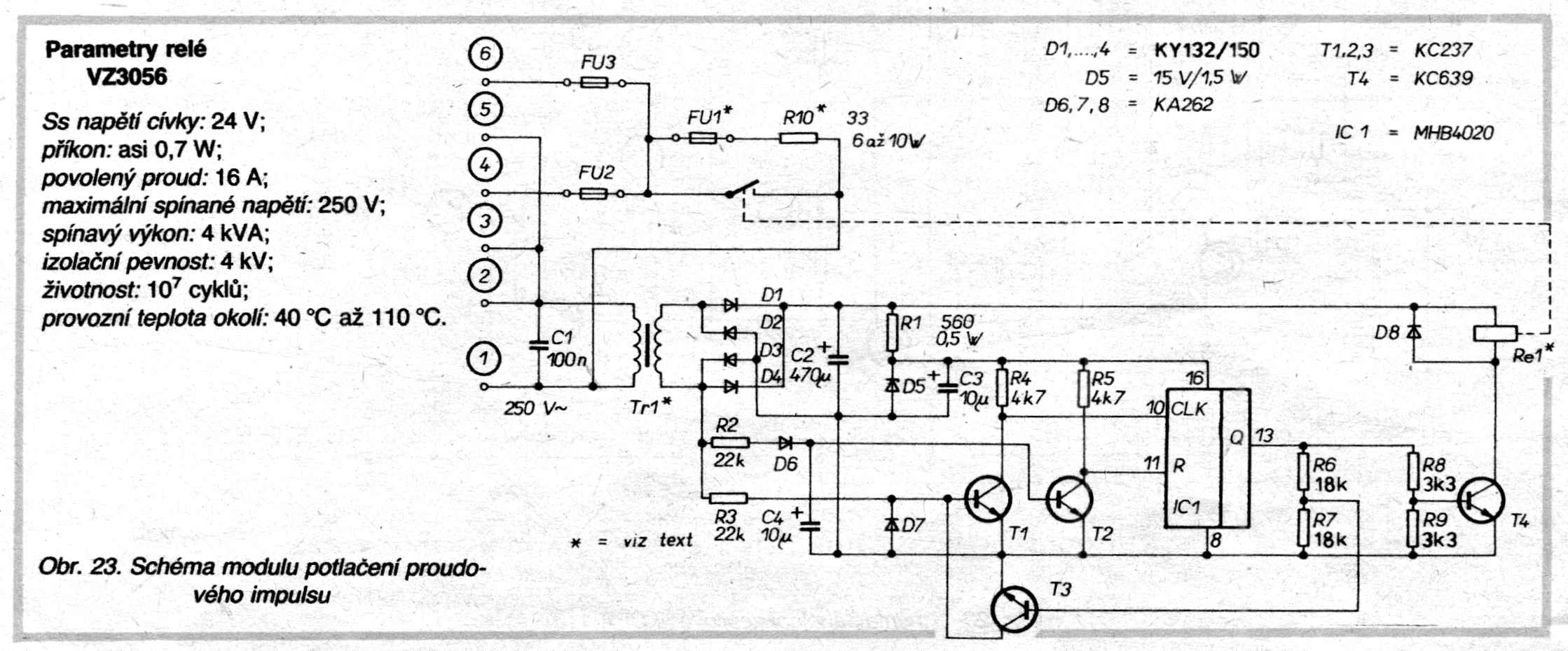
SOFTSTART - The Czech way
Click on the picture to get a larger view.
Prev
Next
Previous article: The Gainclone Story
Prev
Next article: How does it sound?
Next
Main Menu
Home
Hifi Projects
Buy
News
Forum
Links
Downloads
Download files
Misc
About us
Login Form
Username
Password
Show Password
Remember Me
Sign in with a passkey
Log in
Forgot your password?
Forgot your username?